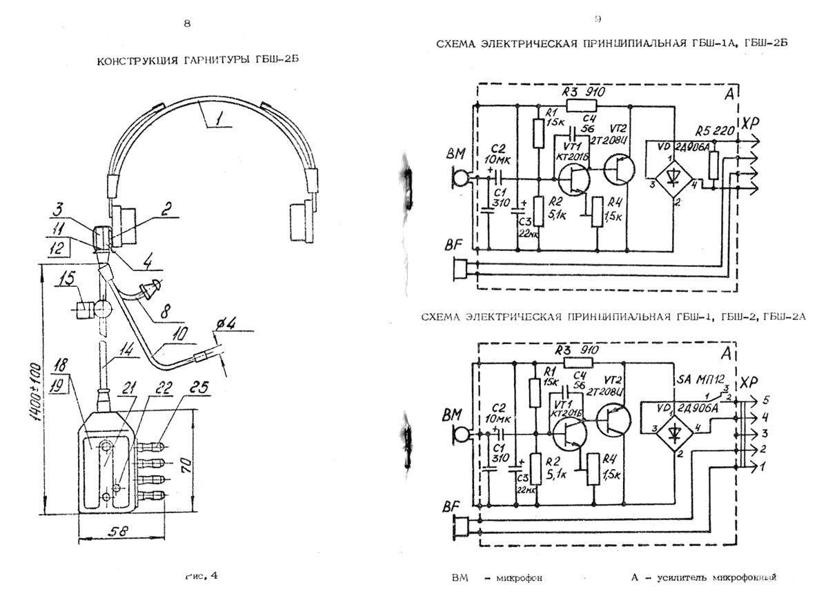
| Гарнитура без шумозащиты "ГБШ" выпускалась
Тульским заводом "Октава" возможно с 1987 года. Служит для использования
с аппаратурой связи. Обеспечивает хороший звук, где шумозащита
не требуется.
Инструкция
по эксплуатации гарнитуры "ГБШ-1", "ГБШ-1А", "ГБШ-2", "ГБШ-2А", "ГБШ-2Б"
(Андрей Минкин, город Барнаул".
- - - -
|