Загрузка...
На стартовую страницу сайта
 
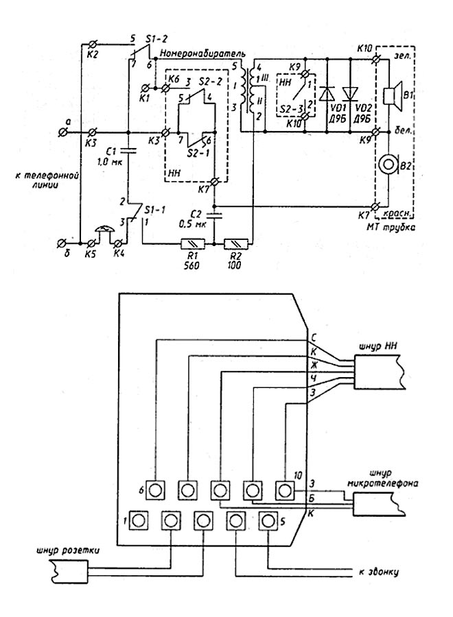
Телефонный аппарат "ТА-68" выпускался с 1968 года Рижским государственным электротехническим заводом "ВЭФ". Настольный телефонный аппарат "ТА-68" предназначен для эксплуатации в сетях станций для автоматического обслуживания (АТС). Выпускался вариант телефона без номеронабирателя для станций с ручным обслуживанием, а так же модернизированные телефоны "ТА-68" с добавлением букв или цифр.
 

----------

i