Портативный
кассетный магнитофон "Легенда-401" с 1972 года выпускал Арзамасский приборостроительный
завод имени 50-летия СССР. Магнитофон является одной из модификаций магнитофона
''Спутник-401'', поэтому размещение его узлов, органов управления, индикации,
элементов питания одинаково, но имеются и некоторые отличия: так на верхнем
полукорпусе закреплен металлический или пластмассовый декоративный шильд
прикрывающий громкоговоритель 0,5ГД-21, крышка кассетного отсека выполнена
из прозрачного полистирола, магнитофон размещён в кожаном чехле с ремнем
и комплектуется микрофоном типа МД-64А с кнопкой ДУ при автономном питании,
то есть магнитофон можно использовать как репортерский. Кинематическая схема
ЛПМ и схема магнитофона аналогичны магнитофону ''Спутник-401''. В магнитофоне
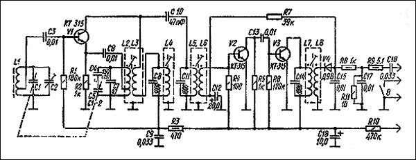
имеется возможность установки радиокассеты, представляющую собой однодиапазонный
приёмник собранный по схеме прямого усиления или по супергетеродинной (схема
внизу). Магнитофон ''Легенда-401'' практически без изменений выпускался
до 1980 года. Магнитофоны подобного типа созданы на основе магнитофона
''Десна'' 1969 года выпуска, который был создан на основе кассетных магнитофонов
иностранных фирм.
Инструкция по эксплуатации
магнитофона "Легенда-401". Инструкция
по эксплуатации радиокассеты без схемы. Описание
и схемы магнитофона в справочнике Анисимова.
Описание и схемы магнитофона в справочнике
ТРЗ. Фотографии магнитофонов Александра Григорьевича
Каклюгина, город Кишинёв и Михаила Музычука, город Нижний-Новгород.
-
-
-
-
-
-
-
-
-
-
-
-
-
-
-
-
-
-
-
-
-
-
-
-
-
-