Загрузка...
На стартовую страницу сайта
 
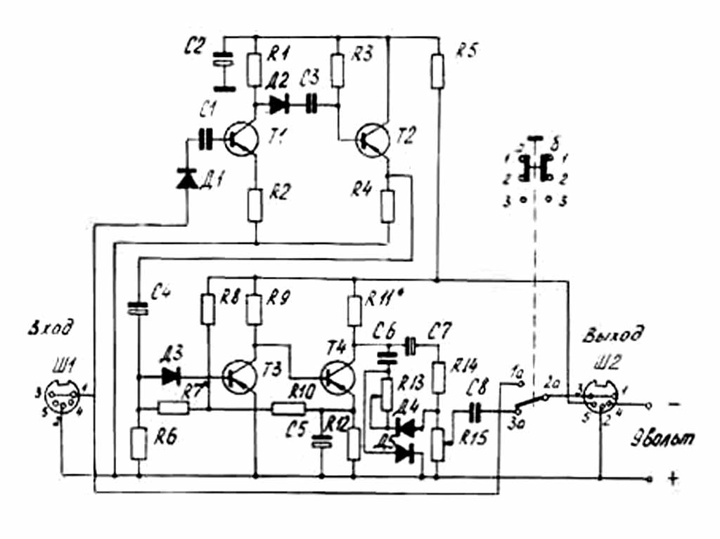
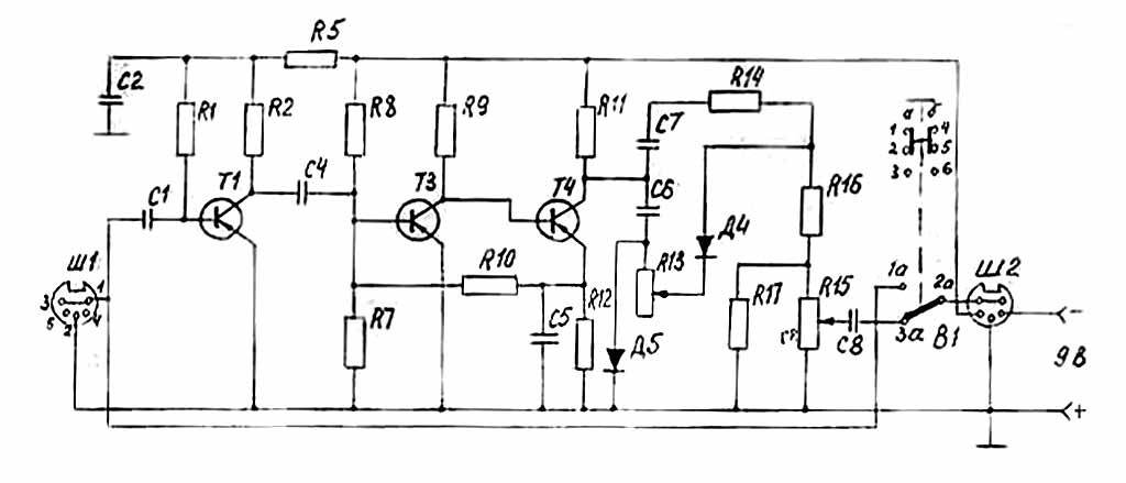
Усилитель с ограничением уровня "Бустер" выпускался возможно с 1973 года Казанским а/я 899. Предназначен для совместной работы с разными электромузыкальными инструментами (гитарой, органом терменвоксом и прочими) для получения звуковых эффектов и придания звучанию инструментов особой окраски, присущей язычковым и смычковым инструментам (кларнету, саксофону, гобою, скрипке) и другим.
 

--------

i