Загрузка...
На стартовую страницу сайта
 
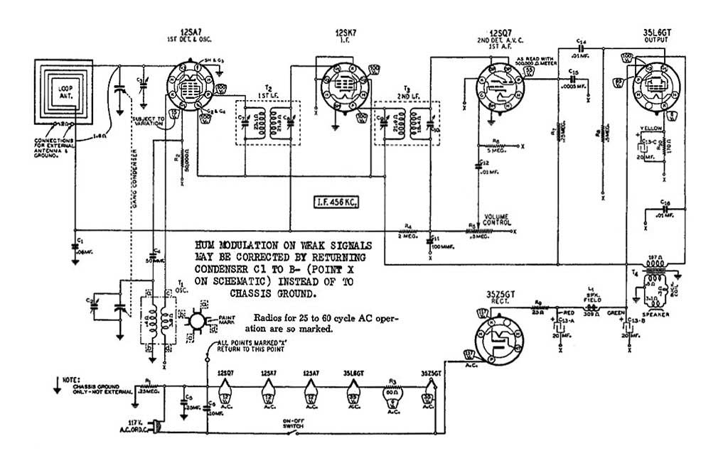
Сетевой ламповый радиоприёмник "General Electric KL51" выпускался с 1939 года Канадским подразделением компании "General Electric", США. Супергетеродин на 5 лампах. Диапазон MW - 540...1600 кГц. ПЧ - 456 кГц. Спиральная встроенная антенна. Селективность около 15 дБ. Питание от сети постоянного или переменного тока (25...60 Гц), напряжением 117 вольт (105...125 В). Диаметр громкоговорителя - 11,5 см. Максимальная выходная мощность УНЧ - 1,5 Вт. Диапазон воспроизводимых звуковых частот - 90...4500 Гц. Габариты модели - 255 x 180 x 150 мм. Масса 2,9 кг.                     Фотографии с сайта greenhillsgf.com.
 

--------

i