Загрузка...
На стартовую страницу сайта
 
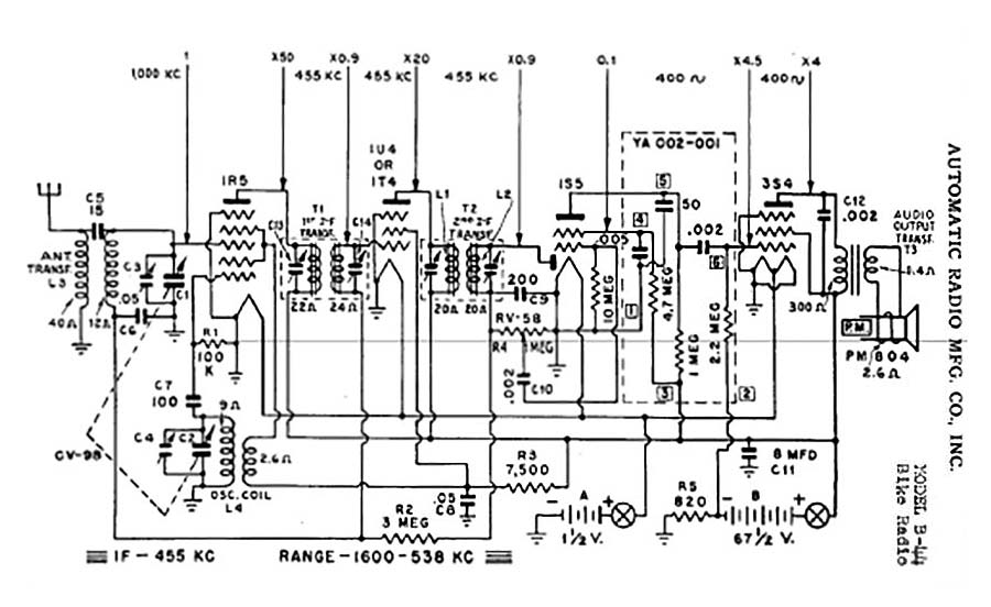
Портативный ламповый радиоприёмник "Automatic B-44" выпускался с 1949 года компанией Automatic Radio Manufacturing Co. в Бостоне (США). Супергетеродинный радиоприёмник разработан для установки на велосипед. Некоторые технические характеристики: количество радиоламп: 4; основной принцип: супергетеродин; ПЧ 455 кГц; диапазон СВ; питание от батареи 67,5 и 1,5 В.; размеры: 180х90х120 мм.; вес 1,8 кг.
 

----

i