Загрузка...
На стартовую страницу сайта
 
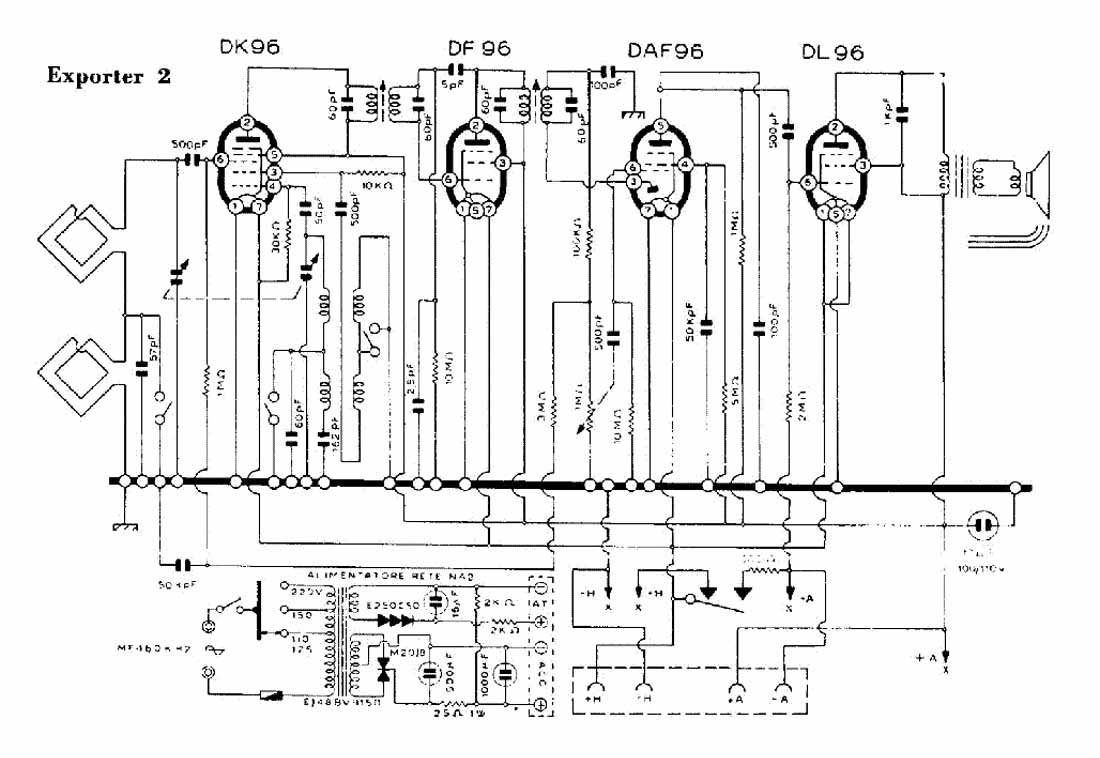
Переносной батарейный радиоприёмник "Braun Exporter 2" выпускался с 1956 года немецкой компанией "Braun", Франкфуркт на Майне. Супергетеродин на 4-х пальчиковых радиолампах с пианием от батарей 1,5 и 50 вольт и от сети переменного тока 110/220 вольт через пристаку выпрямитель, которая является подставкой под радиоприёмник. Диапазоны: L 140...280 кГц и M 520...1600 кГц. ПЧ 460 кГц. Антенны встренные, индуктивные, для каждого диапазона своя. Чувствительность модели не высока, но позволяет уверенно принимать мощные вещательные радиостанции в радиусе до 80...100 км. Диаметр громкоговорителя 7 см. Маскимальная выходная мощность 80 мВт. Диапазон воспроизводимых звуковых частот 250...4000 Гц. Габариты модели 175 x 120 x 50 мм. Масса с батареями питания 1,1 кг.
 

---------------

i