Радиоприёмная
приставка "Радиокассета" выпускалась с 1972 года Арзамасским ПСЗ имени
50-летия СССР. РК предназначена для использования совместно с магнитофонами
"Легенда-401", "Легенда-404" и "Спутник-401", делая их по сути магнитолами.
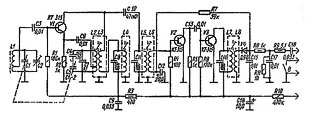
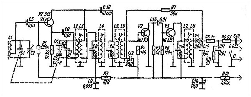
РК выпускалась в основном по схеме прямого усиления, но был опытный выпуск
и по супергетеродинной схеме (внизу), впрочем все выпускавшиеся РК были
опытными. Диапазон в основном ДВ, но были небольшие партии и на диапазон
СВ, причём и по схеме прямого усиления и по супергетеродинной схеме. В
своей массе радиокассеты выпускалась по схеме прямого усиления на диапазон
ДВ с изменениями схемы по годам выпуска, а выпускалась радиокассета до
начала 80-х. РК к магнитофонам "Легенда-401" и "Легенда-404" имели разные
конструкции и разъёмы, у 401 модели справа, а у 404 модели слева. РК представляет
собой высокочастотную часть приёмника с детектором, после чего усиление
сигнала осуществляется УЗЧ магнитофона. Чувствительность радиокассеты в
диапазоне ДВ - 15 мВ/м, СВ - 8 мВ/м и в схеме прямого усиления и в супергетеродинной.
Селективность 6...8 дБ в схеме прямого усиления и 12...15 дБ в супергетеродинной
схеме. Потребляемый ток около 5 мА.
Инструкция
по эксплуатации к радиокассете от магнитофона "Легенда-401" без электрической
схемы.
-
-
-
-
-
-
-
-
-
-
-
-
-
-
-