Загрузка...
На стартовую страницу сайта
 
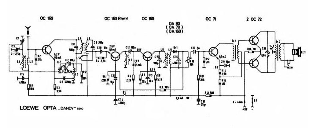
Портативный радиоприёмник "Loewe Opta 5900" (Dandy) выпускался с 1960 года компанией "Loewe" (Opta), Западная Германия. Супергетеродинный приёмник на 6-ти транзисторах. Диапазон MW - 520...1650 кГц. Питание 9 вольт. Диаметр громкоговорителя 6 см. Габариты приёмника 114x73x33 мм. Масса 300 грамм.                                                 Фотографии радиоприёмника с сайта abetterpage.com.
 

-----

i