Загрузка...
На стартовую страницу сайта
 
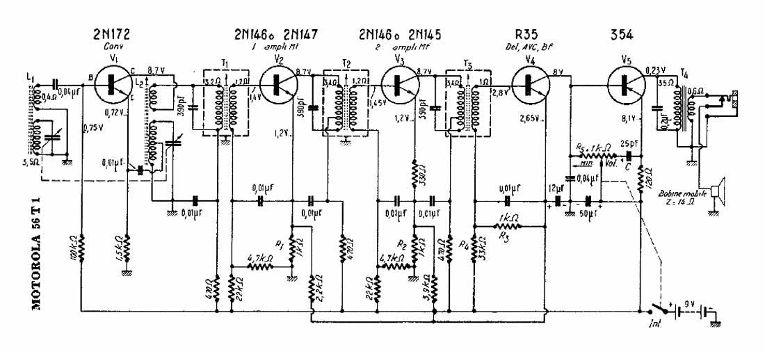
Портативный радиоприёмник "Motorola 56T1" выпускался с 1956 года компанией "Motorola", США. Супергетеродин. 5 транзисторов. Диапазон 535...1620 кГц. ПЧ 455 кГц. АРУ. Питание от стандартной батареи на 9 вольт. Ток покоя 6 ма. Громкоговоритель диаметром 70 мм. Максимальная выходная мощность 60 мВт. Диапазон рабочих частот 280...4000 Гц. Корпус металлический. Габариты - 145x95x40 мм. Масса 610 грамм.

Видеосюжет.         Фотографии с сайтов abetterpage.com, flickr.com и worthpoint.com.
 

------------

i