Загрузка...
На стартовую страницу сайта
 
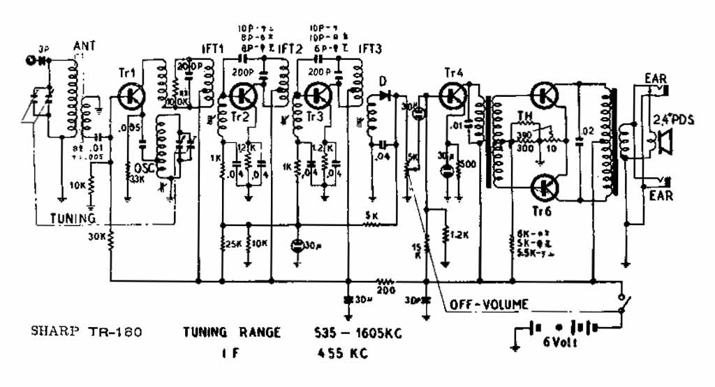
Портативный радиоприёмник "Sharp TR-180 Collie-А" выпускался с 1958 года Японской компанией Hayakawa Electric Co. Приёмник мало отличается от модели "Sharp TR-173 Collie". Это супергетеродин на шести транзисторах. Диапазон АМ - 535...1605 кГц. ПЧ - 455 кГц. Селективность ~ 24 дБ. АРУ. Питание от четырёх батарей "АА". Максимальная выходная мощность - 100 мВт. Диапазон воспроизводимых звуковых частот 250...3500 Гц. Два выхода сигнала, на головной телефон и на громкоговоритель, или на два телефона. Габариты - 148x87x40 мм. Работоспособность сохраняется с потерей мощности при разряде батарей до 3 В.

Информация и фотографии с сайтов https://www.abetterpage.com/, https://tabiwallah.com/ и https://en.todocoleccion.net/.
 

--------

i